您的位置:
首頁 >
產品中心 >
軸承產品 >
LYC洛陽軸承 292/1620 推力滾子軸承
LYC洛陽軸承 292/1620 推力滾子軸承
品牌:LYC洛陽軸承
類型:推力滾子軸承
新型號:292/1620
舊型號:
內徑:1620 mm
外徑:1860 mm
厚度:45 mm
在線詢價
技術咨詢
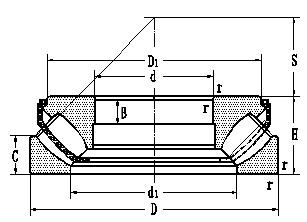
產品尺寸與參數

- 外形尺寸 mm
- d
- 1620
- d1
- 1700
- D
- 1860
- D1
- 1799
- B
- 45
- C
- 80
- H
- 150
- S
- 850
- rmin
- 6
- 額定負荷 kN
- 動負荷 C
- 6150
- 靜負荷 Co
- 48400
- 極限轉速 r/min
- 脂
- 油
- 軸承代號
- 現用型號
- 292/1620
- 原用型號
- 最小負荷常數
- A
- 重量 kg
- 重量 kg
- 552
客服
工作時間:
周一至周五: 9:00-17:50
周六至周日: 休息
在線客服:
客服: 
聯系方式:
聯系電話: 0571-85807285
聯系手機: 18957175968
頂部
能看在线一级片无码